
![]()
輸送トラブルの見張り番
最長2年、無人でデータの収録が可能
輸送中の貨物の損傷には多くの原因があります。
ショックトラッカは輸送中に大切な製品や梱包物が受けるショック(G)の大きさを内蔵メモリに取り込み、
後に専用ソフトでコンピュータにダウンロードすることによって、貨物が輸送中に受けたショックの大きさ、
発生日時が時系列でグラフ化され、データリストを確認できます。
各種貨物の
輸送監視
製品梱包方法の
見直し
輸送ルート・
方法のチェック
安全輸送後の
無事故証明
新環境基準に
対応した梱包材の
フィールドテスト
列車・バス・
自動車などの
乗り心地テスト
データ集録のための
フレーム単位時間設定
データ集録停止モードの
選択
遅延スタートモードの
選択設定
アラーム設定の有無および
アラームレベルの設定
| モデル名 | 型式 | 測定範囲(G :9.8m/s2) |
|---|---|---|
| 1099 | 1099-5 | 0~5 |
| 1099-50 | 0~50 | |
| 1099-100 | 0~100 |
| 最大許容ショック | 300G |
|---|---|
| データ集録容量 | 最大7,900データ |
| 分解能 | 8ビット(1/256) |
| 集録停止モード | 満杯停止、連続書換、読取回数指定のいずれか指定 |
| アラームリミット | 2つのレベル設定が可能 |
| 遅延スタート | 即時開始、開始日時指定、遅延時間のいずれか選択 |
| 内蔵バッテリー | リチウム電池(3V、ER3S),交換可 |
| 使用温度範囲 | -50℃ ~ 70℃ |
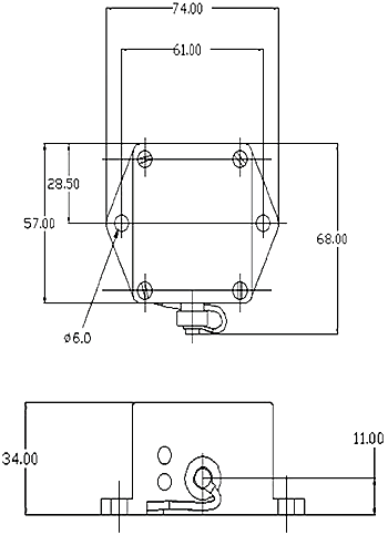
| 寸法 | 74(L)mm × 68(W)mm × 34(H)mm |
| 重量 | 125g |
< 外形寸法図(mm)>